Ces derniers temps, les brevets de Sony font fureur : il y a peu, nous découvrions par exemple un possible aperçu de la manette de la PlayStation 5 ou bien encore une nouvelle cartouche. Aujourd’hui, place à un brevet qui devrait plaire aux joueurs aimant le partage !
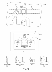
En effet, un brevet inédit de Sony vient d’être découvert et celui-ci, s’il amène à du concret, risque de ravir les joueurs aficionados de la marque PlayStation. Tout d’abord, voici ce que cela donne en image :
Ce brevet démontre comment fonctionnerait un possible partage de démos et de sauvegarde entre joueurs. Explications : admettons qu’un joueur souhaite montrer un passage particulier à un(e) ami(e) ou lui donner une sauvegarde afin de l’aider. Grâce à la technologie qui serait développé par Sony, il serait possible de « couper » un extrait de tel ou tel jeu, de le personnaliser à votre guise – un peu comme lorsqu’on modifie une vidéo de jeu sur PlayStation 4 – puis de l’envoyer à une autre personne, afin qu’elle puisse jouer à une démo créée de toutes pièces par vous ou bien de reprendre un titre au point de votre choix via le partage d’une sauvegarde.
Bien entendu, pour le moment, ce n’est pas du concret et il se peut que cela n’arrive pas, surtout qu’un partage de démos créées par des joueurs pourrait peut-être déplaire aux éditeurs et développeurs, qui partagent tout de même moins de démos que par le passé par souci marketing.
Malgré tout, il est intéressant de voir à quel point Sony s’intéresse à ce genre de fonctions pour l’avenir. Nul doute que la PlayStation 5 sera dotée d’options inédites qui rapprocheront davantage les joueurs, gageons qu’on aura plus de réponses lors du dévoilement de la console.

