Pendant que Microsoft continue de présenter les spécificités techniques de la Xbox Series X, Sony multiplie les dépôts de brevet pour la manette DualShock 5, sans pour autant prendre la parole à propos de sa future PlayStation 5. Le nouveau brevet déposé présente cette fois-ci une potentielle batterie amovible pour le contrôleur.
Il n’aura pas fallu bien longtemps avant que la prochaine manette de Sony ne refasse parler d’elle, alors même que la console continue de faire preuve de la plus grande discrétion. Il y a quelques jours seulement, un brevet déposé par la firme japonaise dévoilait un système de capteurs sensoriels destiné à recueillir les données « biofeedback » des joueurs, ce qui pourrait alors jouer un rôle sur l’expérience de jeu.
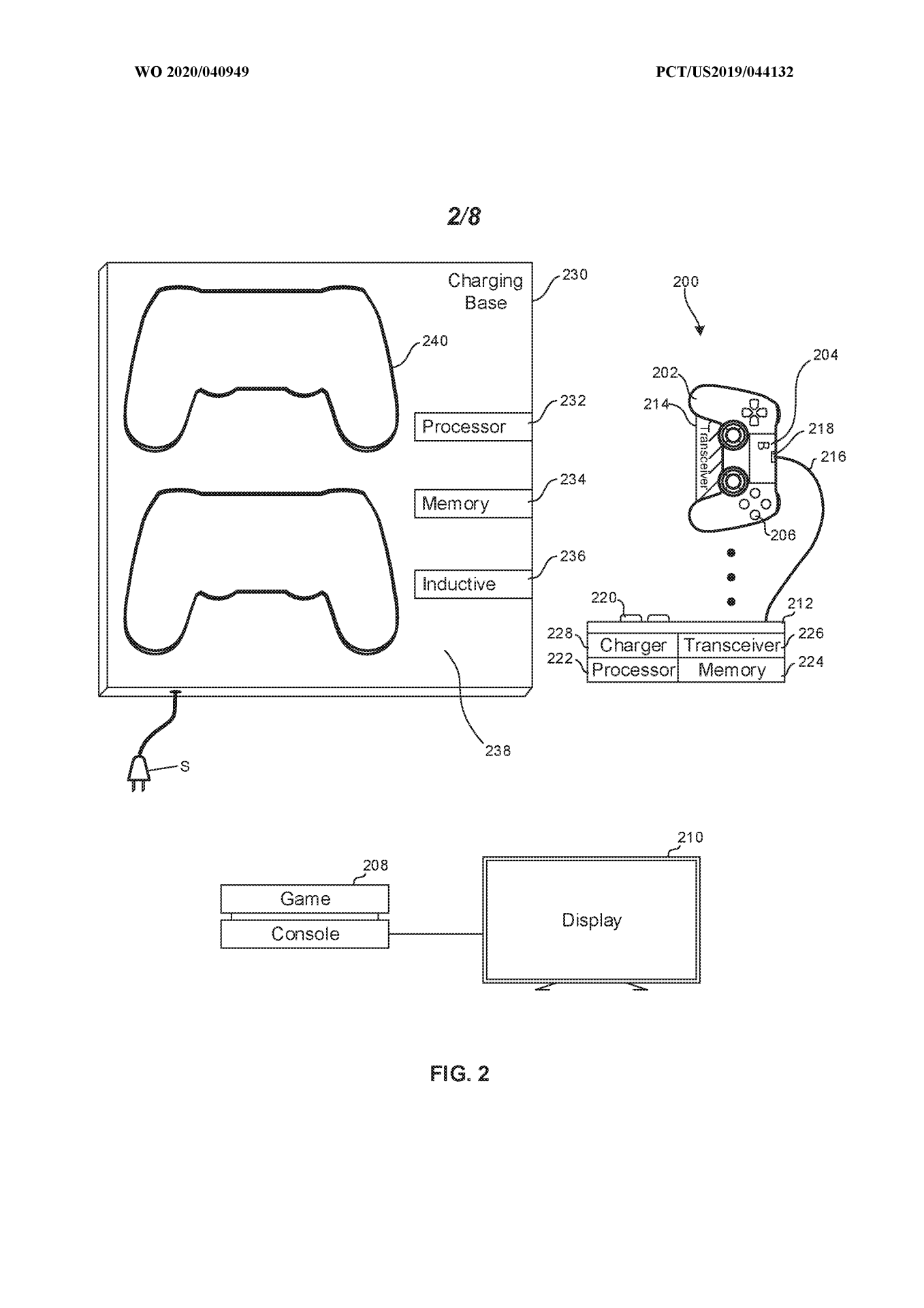
Un système qui, cela n’a pas échappé aux joueurs, serait probablement extrêmement gourmand en termes d’énergie s’il était bel et bien présent. Hasard ou non, le nouveau brevet repéré par SegmentNext concerne cette fois-ci la batterie de la manette. En effet, la DualShock 5 pourrait s’accompagner d’un adaptateur amovible permettant aux utilisateurs de la charger, et ce sans fil. De quoi continuer à jouer tranquillement donc.
Selon la description accompagnant le document, cet adaptateur peut s’enclencher à la manette tout en étant couplé par induction à une base de rechargement. Un élément qui ferait sans doute plaisir à bon nombre de joueurs, certains se plaignant justement du câble de la DualShock 4 et de sa courte longueur. L’accessoire serait également en mesure de « refléter les touches » de la manette, un concept relativement flou à comprendre en l’état, y compris en regardant les visuels.
Quoi qu’il en soit, cela semble donc indiquer que la question de l’autonomie de la manette fait partie des préoccupations de Sony pour la prochaine génération. Si les retours des joueurs à ce propos concernant la manette de la PlayStation 4 n’y sont sans doute pas pour rien, les différentes fonctionnalités envisagées pour le contrôleur de la PS5 doivent également y être pour beaucoup.
Pour cause, si l’une ou l’ensemble des fonctionnalités envisagées sont bel et bien intégrées au modèle commercialisé, il y a fort à parier que la batterie aura besoin de beaucoup d’énergie. On sait par exemple que la manette disposera d’un dispositif haptique tandis que plusieurs autres brevets évoquent le fonctionnement du micro ou encore du bouton Share. Le but est donc de maximiser le confort des joueurs autant que possible.
Une fois encore, précisons néanmoins qu’un dépôt de brevet ne confirme en rien la conformité du modèle présenté avec celui qui sera commercialisé à la sortie de la console. Nous devrions avoir des informations à ce sujet au cours des prochains mois, quand la communication autour de la PS5 sera officiellement lancée. Comme annoncé par PlayStation sur le site officiel, ils ne sont pas encore prêts pour cela pour l’instant.
Pour rappel, la PlayStation 5 est attendue pour la fin de l’année 2020 à une date encore indéterminée.



